新闻动态

  • 现场处理PH计故障实操

    故障现象:PH计指示不准

    2024-12-16 时博体育在线注册,时博体育(中国)

  • 现场仪表班双法兰液位计指示故障处理实操

    双法兰液位计液位指示不准/无变化

    2024-12-16 时博体育在线注册,时博体育(中国)

  • 滑板阀在高纯度钒化合物生产工况的应用

    滑板阀设计的基本原理是两个带槽的滑板相互滑动并相互密封。执行机构只需克服两个滑板之间的滑动摩擦力,阀门行程仅为6至9毫米。与其他阀门设计相比,所需的执行力最多可降低90%,因此可以使用更小的执行器。尽管总长度相同,但KWZK-A型滑板阀的设计更加紧凑,比同类截止阀更易于操作。

    2024-11-06 时博体育在线注册,时博体育(中国)

  • 高压变送器腰轮垫片崩开导致介质泄漏

    9月8日,循环氢压缩机K01II出口循环氢压力11-PT-39腰轮崩开,介质循环氢、操作温度91℃、操作压力19.1MPa; 9月23日,E04II壳程入口混合氢流量11-FT-30单侧腰轮崩开,介质混合氢、操作温度91℃、操作压力18.7MPa;

    2024-09-25 时博体育在线注册,时博体育(中国)

  • 压力调节阀不动作

    调节阀不动作故障原因分析 原因1: 无气源或气源压力过小。 措施:应首先检查气源( 仪表空气) 是否通畅,气源压力是否达到该阀使用要求。 原因2: 有气源,无输出信号气压力。

    2024-09-06 时博体育在线注册,时博体育(中国)

  • 加热炉炉分支阀门故障导致停炉原因分析

    过程检查及分析仪表人员到现场后要求内操人员给定阀位,发现阀门不动作且为全关状态。此阀门为故障开阀门,当时风源压力正常阀门没有全开且不动作,初步考虑定位器本身故障,应更换定位器。要求工艺人员改副线,此时由于阀门为关闭状态,此分支内介质已停止流动,炉管内介质被持续加热升温。工艺人员在改副线过程中由于副线阀门打开,此分支介质突然流动,大量高温介质瞬间流出加热炉。导致加热炉出口温度升高,触发加热炉出口温度高高联锁,引发 F101 主火嘴燃料气快速切断阀 XCV1923和 XCV1924 关闭导致熄炉。

    2024-08-30 时博体育在线注册,时博体育(中国)

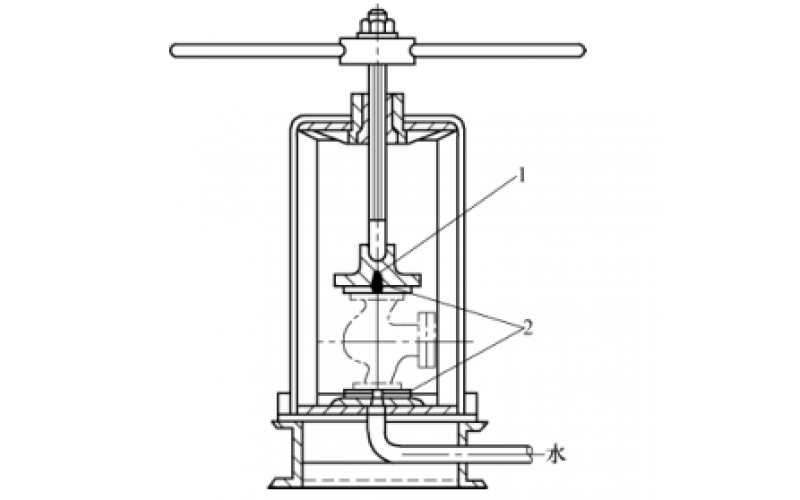
  • 阀门怎样进行强度试验和严密性试验?

    阀门的强度试验和严密性试验一般在如图1所示的阀门水压试验台上进行。

    2024-07-19 时博体育在线注册,时博体育(中国)

  • 涡街流量计指示偏低故障维修处理

    KWZK-DSRT-8系列涡街流量计时根据卡门(Karman)涡街原理测量气体,蒸汽或液体的体积流量,标况的体积流量或质量流量的体积流量计,并可作为流量变送器应用于自动化控制系统中。它是由漩涡发生体,检测探头以及相应的电子线路等组成。当流体流经漩涡发生体时,它的两侧就形成勒交替变化的两排漩涡,这种漩涡背成为卡门漩涡。卡门涡街的频率与流体的流速成正比。

    2024-06-03 时博体育在线注册,时博体育(中国)

首页
产品
新闻
联系