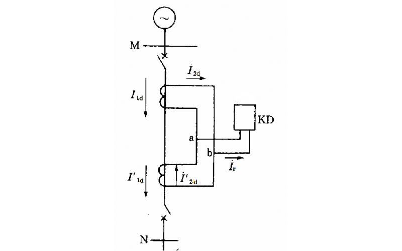
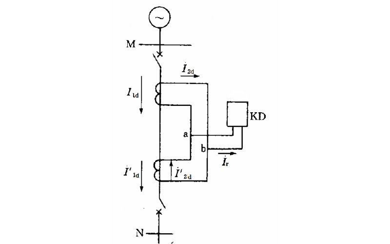
发电机的主要继电保护都有啥?
2023-04-26 时博体育在线注册,时博体育(中国)
电力稳定器PSS的原理和作用?
电力变压器的保护配置知识分享
2023-04-20 时博体育在线注册,时博体育(中国)
直流输电换流站知识分享
2023-04-17 时博体育在线注册,时博体育(中国)
直流系统接地的处理方法知识分享
2023-04-03 时博体育在线注册,时博体育(中国)
电力变压器的保护配置
2023-03-27 时博体育在线注册,时博体育(中国)
10kV高压柜知识介绍分享
2023-03-22 时博体育在线注册,时博体育(中国)
仪表测控技术在自动控制系统中的应用分享
2023-03-20 时博体育在线注册,时博体育(中国)